MD-3010II地下金属探测器
可随时上门了解查看产品020-29067636全国免费热线:400-0659-178
产品详情
探测深度:2米

可随时上门了解查看产品
全国免费热线:400-0659-178

可随时上门了解查看产品
全国免费热线:400-0659-178
产品介绍:
MD-3010II液晶显示型地下金属探测器从2000年投放国外市场起,深受国外客商好评,并迅速打入欧美市场,从而远销美国,加拿大,英国,德国,法国,意大利,芬兰,土尔其,韩国,俄罗斯等十几个国家。
1.功能特点及用途:
本金属探测器是一种数字式智能型探测器采用先进日本原装富士32CPU中央处理器为核心电路来处理转换数字信号。它具有判别力强,正确性高等显著特点,可使被探金属物直接显示在液晶屏上,其直观性更强。并可根据需要设定探测金属种类,设定音调对探测金属种类进行判别, 设定探测灵敏度。该产品操作简单方便类同于手机操作。
本金属探测器主要用于探测地下金属物,它除在军事上应用外还广泛用于安全检查,考古,探矿,探宝,草坪搜寻金属异物等,MD-3010II还特别适用于沙漠中寻找金属异物、金银首饰及各种硬币.
MD-3010II液晶显示型地下金属探测器从2000年投放国外市场起,深受国外客商好评,并迅速打入欧美市场,从而远销美国,加拿大,英国,德国,法国,意大利,芬兰,土尔其,韩国,俄罗斯等十几个国家。
1.功能特点及用途:
本金属探测器是一种数字式智能型探测器采用先进日本原装富士32CPU中央处理器为核心电路来处理转换数字信号。它具有判别力强,正确性高等显著特点,可使被探金属物直接显示在液晶屏上,其直观性更强。并可根据需要设定探测金属种类,设定音调对探测金属种类进行判别, 设定探测灵敏度。该产品操作简单方便类同于手机操作。
本金属探测器主要用于探测地下金属物,它除在军事上应用外还广泛用于安全检查,考古,探矿,探宝,草坪搜寻金属异物等,MD-3010II还特别适用于沙漠中寻找金属异物、金银首饰及各种硬币.

2.产品性能:
1.电 池: 1节叠层9V电池
2.电 流: 最小~30mA
最大~60mA
3.工作电压: 7.1~9.6v
4.信号频率: 7.5KHz+/-1KHz
5.灵敏度: 最少13cm(试验硬币:25美分)
6.工作环境: -20℃~60℃
7.外形尺寸: (mm)550(长)×355(宽)×153(高)
8.毛 重: 3kg
9.净 重: 1.37kg


感谢购买MD-3010II金属探测器,这款高性能设备可以帮您在任何地方探测出硬币、金属残片、首饰、金、银。为了发挥产品最大性能,我们建议您花上几分钟认真阅读此说明书,并保存好以便将来查阅。
3.产品功能
全自动、全金属探测器:可探测任何金属种类。除非您已设定非目标金属。
目标确认:探测目标已显示在液晶显示屏,您可直接确定想探测到的目标。
排除非目标项:您可设定非目标金属,使探测器对其不作反应。
显示物体深度:除了告知探测到的物体名称,还可显示相对埋藏深度。
特殊声音识别:无须注视显示屏,即使昏暗无光地区也能根据声音轻松识别金属种类。
无笨拙累赘的电线:探测盘电线(连接控制装置和探测盘)隐藏起来,避免电线纠结以便调节轴柄的长度。
耳机插孔:可连接耳机,立体声耳机及单音质耳机都可使用。
音量控制:可调节输出音量。
电池电量指示器:显示电池盒内电池电量。
防水性探测盘:方便在浅水区使用。
可调式轴柄:可调节探测器长度以方便使用。
扶手杆:消除前臂的紧张感。
电池:标准叠层9伏电池,内置直流转换器以延长电池寿命。

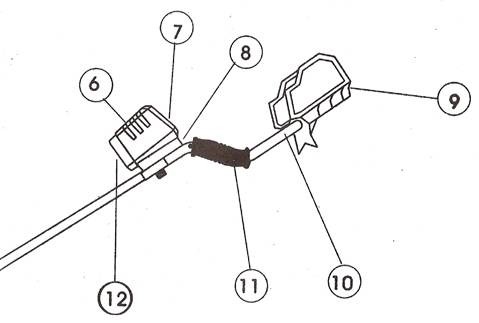
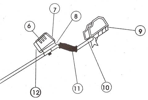
名 称:
1. 探测盘
2.探测盘圆形螺帽
3.下轴柄
4.轴柄固定螺帽
5.上轴柄
6.控制器
7.控制面板
8.耳机插孔
9.扶手
10.扶手杆
11.把手
12.电池盒


3.1组装探测器
无须其它特殊工具安装,一把小型菲力普螺丝刀即可,打开包装后,您可进行以下操作:3.1.1顺时针旋转轴柄的固定螺帽(4)
直至松开。

3.1.2向探测盘(1)方向滑动上轴柄
(5)(如图中箭头所示),直至可以
看到微型连接器插头,抽出并用手握住
3.1.3找到扶手(11)上的微型连接器
插孔,将插头插入,注意标注在插头和插孔上的校准记号。

3.1.4向控制器(6)方向滑动上轴柄(5),注意卡槽应朝向控制器下方抽出。
3.1.5旋紧控制器(6)下方的圆形螺帽。
3.1.6调节下轴柄(3),确保当您手持
探测器,手臂放松置于身侧站立时,探

测盘(1)与地面保持水平距离大约1/2
至2英寸。
3.1.7反方向(逆时针)旋紧轴柄固定
螺帽(4)。



3.1.8松开探测盘(1)上的圆形螺帽(2),
调整探测盘至理想角度(探测盘与地面平
行),适度旋紧螺帽。

3.1.9松开扶手(9)底部上的4个螺丝,
将其调节至手肘处,反方向旋紧螺丝。

3.2 安装电池
需要叠层6节1.5V电池。
3.2.1按下控制面板上的POWER键,关闭探测器。

3.2.2滑开电池盒(12)上的电池盒盖。
3.2.3将6节1.5V新电池装入电池盒。注意标注在探测器和电池接触点上的极性(+和-)必须吻合。

3.2.4合上电池盖。
注意:
使用新电池并及时更换旧电池。
不要将新旧电池,不同型号(规格、含否碱性、是否可充电)电池,或不同容量的可充电电池混合使用。
不要为不可充电电池充电,6F22或S006P 9V电池一般为不可充电电池。
及时并正确处理旧电池。
3.3 电池电量
电池电量可根据液晶显示屏上的电池图标判断。

图标显示4节电量时表示电池崭新且状态良好。
当图标只有1节电量且闪烁时,应更换全部电池。
3.4 使用耳机
探测金属时,请经常使用耳机,在海滩和城市等嘈杂地区尤为适用。戴上耳机后,它可通过直接将声音传送到耳内以加强音频感应,您会发现使用耳机后可更清晰的听到探测信号,且节省电量。
将耳机的1/8英寸插头插入耳机插孔(8)以连接耳机和探测器。

注意:当连接耳机时,探测器内置声筒将会断开连接。
4.1 控制板

POWER:控制设备的开启和关闭(7)。
▲:右移 ?:左移(38)
MODE:可选择忽视或排除目标金属,或为目标金属设定声音(1)。
SET:选择功能项(2)。
LCD DISPLAY: 液晶显示屏(5)。
4.2 液晶显示屏


4.2.1图标
1.灵敏度:8档灵敏度可供调节。
2.光投突出目标项:当目标金属被选中或被探测到时,由矩形围住的目标金属图标会闪动。
3.排除目标指示:表示不想探测到目标。

4.声音音量:4档音量可供选择。5.声音设定:为出现在显示屏上的目标图案设定声音,有8种音乐可选择。
4.3 使用说明
4.3.1正常工作状态
* 按下POWER键开启探测器。
* 显示屏出现灵敏度,深度等图标。
* 探测器进入正常工作状态。
* 再次按下POWER键,切断探测器电源。
4.3.2电池电量指示图
* 图标分为4段用来表示电池盒内电池状态。
* 出现4段时表示电量不足,显示1段且闪烁时,表示应更换全部电池。
4.3.3调节灵敏度
* 正常工作状态下(参照4.3.1),按下SET键,SENS图标闪烁。
* 用▲或?键增加或减少灵敏度。
* 按下PRESS键确认设置并返回到正常工作状态。
注意:灵敏度分为8级。图案显示的级数越多,灵敏度越高。由于高灵敏度可探测到最深最小的目标,所以经常被使用,但采用高灵敏度时,会遇到错误信号的问题(参见4.5.2),这将会防碍您启动最高的灵敏度。错误信号出现时,探测目标无法正常发出声音。这主要是由矿化反应或来自电缆、广播电台等的干扰引起的。一般情况下,降低灵敏度可避免过多的错误信号。
4.3.4排除目标项设置
* 在正常工作状态下,按两次SET键,目标图案闪烁。铁钉被闪烁的矩形图案圈住时,表示铁钉已被选择。
* 按下MODE键,象征“排除”的符号“×”会出现在已选中的目标上。
使用▲或?键选择想排除的目标。
* 再次按下MODE键,取消符号“×”,目标项还原。
* 重复以上操作,设置其它目标项。
* 按下ENTER键确认设置,返回到正常工作状态。

4.3.5为探测目标选定声音
* 正常工作状态下,按3次SET键直至铁钉被闪烁的矩形图案圈住,并出现声音设置图标。
* 按下MODE键,原本的声音将被另一个代替。有8种声音,您可以为每个目标选择特有的声音,当目标被探测到时,会响起特有的声音。
* 用▲或?键来选择其它探测目标。
* 重复同样的操作,为其它目标设置声音。
* 按ENTER键确认设置,返回到正常工作状态。
4.3.6设置音量
* 在正常工作状态下,按4次SET键,声音音量图标闪烁。
* 用▲或?键调节音量高低。
注意: 有5档音量可供选择。
* 按ENTER键确认设置,返回到正常工作状态。
4.3.7出厂设置
恢复出厂设置,可同时按下MODE和POWER键,探测器将重回最初的出厂设置。
4.4 试用
为了熟悉探测器对各种金属作出的反应,第一次使用前,您可以在户内和户外进行试用。
4.4.1户内使用
* 打开探测器,此时探测器应处于正常工作状态。
* 将探测器置于桌面,取下身上佩带的金属物品,如:手表、戒指、珠宝等。
* 调整探测盘,使探测面朝向天花板。
使探测物位于探测盘之上2-3英寸处,慢慢扫过探测盘,探测器会发出已为目标设置好的特有的声音,液晶显示屏上目标图象开始闪烁。
* 对排除的目标重复以上操作,如:易拉环。
* 使易拉环位于探测盘之上慢慢扫过,可以发现探测器对于已排除的目标没有反应。
4.4.2户外试用
* 打开探测器,此时探测器应处于正常工作状态。
* 在户外找一块没有金属物体的地面。
* 将探测目标埋在地下,目标之间应保持1-2英尺的距离。
* 保持探测盘与地面距离在1到2英寸之间,在探测目标埋藏处慢慢移动探测器。
* 当目标被探测到时,探测器会发出已为目标设置好的特有的声音(参见4.3.5),液晶显示屏上目标图像开始闪烁。
* 缓慢抬起探测盘,液晶显示屏上的深度图标上升,这表示要找的正是此目标金属,将探测盘返回原位,读出目标深度。
注意:此深度图标仅供参考。
4.5 操作建议
4.5.1 显示屏上没有的金属目标项
* 在探测目标时,若矩形光圈从一个目标图案跳到另一个或反过来,此探测到的目标可能不在显示屏上或探测区为高含矿量区,降低灵敏度并再次探测可避免发生后一种情况。
4.5.2 错误信号
该产品灵敏度高,可探测到埋藏很深的物体,因此,无用的信号及其它阻碍物可能引起信号混乱,解决方法:只挖掘信号反复闪烁的目标,您可将探测盘位于地面上前后扫描,请留心区分偶尔闪烁的信号和持续反复闪烁的信号。
为了减少错误信号,可以分小片区域慢速的短距离重叠扫描。
4.5.3使用探测盘
* 以合适的速度移动探测盘,如行走过快,将无法重叠扫描,进而遗漏部分地区。同时,灵敏度会降低,将遗漏埋藏较深的金属物。
* 使探测盘尽量贴近地面,与地面保持平行,以便扩大搜索广度和深度。若在草坪操作,可将其轻轻贴近草坪。 (正确) (错误)

* 重叠50%的扫描区。
* 在一半圆区域内有步骤的搜索。记住未扫描和已扫描的区域。

4.6 操作者注意事项:
* 探测私人土地时应取得许可。
* 探测结束后应清理探测场所,保持清洁。
* 无论城市或郊区,探测后应将挖掘的坑洞填平,恢复原貌。
* 遵守探宝相关法律。
* 若能找到贵重财产原持有者,应将其归还。
* 让探宝活动给人留下好印象。
4.7 金属探测器使用区域:
* 国家公园、联邦土地、洲立公园及土地。
* 工程团、湖泊、海岸线及陆地。
* 土地管理局管辖区。
* 城乡公园和公立学校场地。
14
MD-3010II无须过多维护,但请遵守以下几点以保持其高性能:
-若暂时闲置,请将电池取出。
-避开高温处,如停放在太阳下的车内。
-探测盘若与地面磨擦,易磨损探测盘底部,更换探测盘的价格较高,您可以购买便宜的防撞击滑盘,以减少磨擦。
-在雨区、雾区或灰尘区操作时,请将防水盖盖在控制器表面。
-MD-3010II需保持干燥清洁,在下轴柄滑入上轴柄前,请擦拭下轴柄,并确保固定螺帽时,没有沙砾和污垢。

在新疆,内蒙,江西,南昌的一些寻宝者使用我公司地下金属探测器,多次探得宝藏与古物,从而过上幸福富裕的生活。
在陕西,江苏,辽宁,河北等地区一些考古先生多次探出古物,见证了我司地下金属探测器更上新的台阶。
全国34个地区都在使用…………………….
本公司己开通全国300多个城市免费送货上门服务!免去您的后顾之忧!
注:现市面上有不少仿制我公司的劣质产品,价格比原产品低1/3左右,请广大消费者提高警惕,以免上当。

推荐产品
-
盖瑞特AT-GOLD地下金属探测
可随时上门了解查看产品020-29067636全国免费热线:400-0659-178 ... -
土耳其脉冲TR-V8地下金属探
可随时上门了解查看产品 全国免费热线:400-0659-178 ... -
德国DHH脉冲AR-5地下金属探
可随时上门了解查看产品020-29067636全国免费热线:400-0659-178 ...


